欢迎来到河北午夜免费电影网址电力设备有限公司官网!
180-3210-8181
187-0321-3993
一、用途
电动给料机可用于火电厂、化工厂、水泥厂、粮食等部门午夜福利久久久系统中作锁气,均匀定量给料之用。在火电厂主要用于干式除尘器、省煤器、空气预热器灰斗下作锁气及均匀定量给料之用。
二、原理及结构
SG型电动给料机亦称电动锁气器,回转阀,其工作过程是由带有若干叶片的转子在机壳内旋转,物料从上部集灰斗或料仓下落到叶片之间,然后随叶片转至下端,将物料排出进行送料。
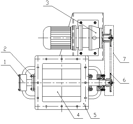
SG型电动给料机结构见附图:

1. 轴承端盖 2.填料压盖 3.驱动装置 4.回转叶轮及主轴
5.壳体 6.链轮、链条 7.护罩
三、SG-型电动给料机技术性能表:

四、安装与调试
1. 为避免运行时有杂物卡入外壳与转子之间,使给料机主要部件或驱动装置受到损坏,故安装时应在给料机上方加设清除杂物用的过滤网。
2. 为防止给机结合面泄漏,产生飞灰、跑灰现象,安装时应在给料机上下结合面加设密封层填片,且拧紧上下联接螺栓。
3. 安装完毕后,需检查链条紧松程度,且利用减速机连接螺栓给予合理调整,(亦可在减速机底脚处加设垫片)。
4. 减速机在试运行前应遵说明书要求加适量齿轮润滑油.
5. 此设备投运行前检查叶轮转动情况,手盘轻巧灵活后才允许接通电源进行空负载运行,并检查各运转部件之运行情况及轴承温升,正常后进入带负载试运行,试运行时间不得少于72小时。
6. 合理调整填料箱压盖螺栓松紧,以防止飞灰、跑灰或轴负截过大。
五、维护与使用
1、 此设备两轴承处油杯应每班加黄油一次。
2、 摆线针轮减速机应遵说明书要求进行定期加油。
3、 应定期用油漆刷子将润滑剂加在链条和链环之间(润滑剂可用40#机油)及更换润滑油。
4、 在进行给料机内部零件的检查拆装工作前,应使设备与机械传动部分和电气部份脱开。
5、 在检修给料机内部零件时,应拧掉端盖上联接螺栓,利用两端盖上的装拆螺孔进行装卸,以免损坏机件。
6、 每次拆开转子检修,重新装配时应注意转子叶轮与两端面盖间的间隙,用两端盖上的装拆螺孔内拧入螺钉,调整至合理位置(保证轴向间隙0.25mm~0.5mm),然后在两端盖法兰间加入密封调整垫片,拧紧联接螺栓。